siFramo 80
Apoyo STA F 80
Aplicación
En conjunto con otros productos como Consola soporte TKO F 80, Consola AK F 80 o Perfil de montaje TP F 80, permite la posibilidad de construir diferentes instalaciones estructurales para distintos casos de aplicaciones. Los taladros circulares de la placa base posibilitan la fijación directa a carriles embebidos en hormigón.
Montaje
Según la aplicación, se recomiendan diferentes tipos de fijación:
| a) | Fijación propia del sistema siFramo F 80 sobre perfil de montaje F 80 con 4 tornillos autorroscantes FLS F. |
| b) | Atornillado a carriles de montaje embebidos con sus correspondientes tornillos soporte o tuercas de carril. |
Se necesitan 4 tornillos autorroscantes FLS F para la conexión del Perfil de montaje TP F 80/80 al Apoyo STA F 80.
Usar 2 tornillos autorroscantes en cada cara opuesta.
Datos técnicos
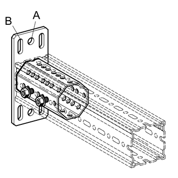
| Tipo | Dimensiones de placa base [mm] | A [mm] | B [mm] | H [mm] |
|---|---|---|---|---|
| STA F 80 | 190 x 80 x 8 | 14 | 20 x 11 | 148 |
| STA F 80-E | 165 x 80 x 8 | - | 20 x 11 | 148 |
| Ejecución: | Placa soldada con perfil octogonal F 80 |
| Material: | |
| Placa: | Acero, HCP |
| Perfil octogonal: | Acero, HCP |
También disponible tratamiento DUALSHIELD C5H para atmósferas altamente corrosivas.
Homologaciones / Conformidad
Marcado-CE
ETA-24/0471
![]()
Declaración de conformidad Apoyo STA F PDF | 193.4 KB
