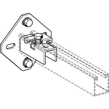
Apoyo de Carril WBD
Aplicación
Este soporte, junto con los carriles de montaje Sikla, permite:
- Montar estructuras y consolas fijadas a muros, suelos y techos
- Ser utilizado como pie-soporte para estructuras con carriles de montaje Sikla.
Las generosas dimensiones de la pletina y su forma romboidal permiten al soporte resistir un alto momento flector y le proporcionan una gran estabilidad frente a cargas laterales.
Montaje
Normalmente es suficiente el uso de los dos puntos de anclaje del eje que corresponde a la dirección de la carga. Sólo es necesario usar los cuatro puntos de anclaje en circunstancias excepcionales, por ejemplo en soportes verticales muy altos.
Tabla: Par de apriete mínimo para tornillo hexagonal con Refuerzo de carril HK 41
| Tipo | Nº de Refuerzos de carril | Tornillos para Refuerzo de carril | Accesorios | Par de apriete [Nm] |
|---|---|---|---|---|
| 41/21-31 hasta 41/41-45 | 1 | M10 | premontado | 40 |
| 41/52 hasta 41-75/75 | 2 | M12 | premontado | 60 |
| 41/21 D hasta 41/45 D | 1 | M10 | suelto | 40 |
| 41/52 D hasta 41-75/75 D | 1 | M12 | suelto | 60 |
Para montajes colgados a techo bajo grandes cargas (hasta 7kN) se recomienda el uso de al menos un tornillo pasante para unir el Carril de montaje MS al Apoyo de Carril WBD.
Datos técnicos
| Tipo | Carril de montaje Sikla adecuado | A [mm] | s [mm] | B [mm] | b [mm] | h [mm] | C [mm] |
|---|---|---|---|---|---|---|---|
| 41/21-31 | 41/21/1,5 - 2,0 41/31/2,0 | 135 | 6 | 100 | 25 | 11 | 95 |
| 41/41-45 | 41/41/2,0 - 2,5 41/45/2,5 | 135 | 6 | 100 | 25 | 11 | 95 |
| 41/52 | 41/52/2,5 | 170 | 6 | 120 | 25 | 13 | 131 |
| 41/62 | 41/62/2,5 | 170 | 6 | 120 | 25 | 13 | 131 |
| 41-75/65 | 41-75/65/3,0 | 210 | 8 | 170 | 25 | 13 | 131 |
| 41-75/75 | 41-75/75/3,0 | 210 | 8 | 170 | 25 | 13 | 131 |
| 41/21 D | 41/21/1,5 - 2,0 D | 135 | 6 | 100 | 25 | 11 | 125 |
| 41/41-45 D | 41/41/2,0 - 2,5 D 41/45/2,5 D | 210 | 8 | 170 | 25 | 13 | 125 |
| 41/52 D | 41/52/2,5 D | 210 | 8 | 170 | 25 | 13 | 135 |
| 41/62 D | 41/62/2,5 D | 255 | 8 | 205 | 25 | 13 | 135 |
| 41-75/65 D | 41-75/65/3,0 D | 255 | 8 | 205 | 25 | 13 | 135 |
| 41-75/75 D | 41-75/75/3,0 D | 255 | 8 | 205 | 25 | 13 | 135 |
Cargas admisibles para montajes anclados a muro:
Las posibles cargas puntuales se dan en los siguientes Diagramas (ver "Diagramas y solicitaciones de carga") y son aplicables en anclajes a muros utilizando 2 tornillos de la clase de carga especificada.
Cargas admisibles para montajes colgados a techo:
Carga máxima admisible de 7,0 kN para montajes en dirección vertical con al menos un tornillo pasante (8.8). En apoyos WBD para carriles sencillos, se aplican los siguientes valores, con la condición de que todas las piezas suministradas estén correctamente montadas.
| Tipo | Carga de uso en montaje a techo [kN] |
|---|---|
| 41/21-31 hasta 41/41-45 | 2,0 |
| 41/52 hasta 41-75/75 | 4,0 |
| Material: | Acero, cincado galvánico |
Diagramas y solicitaciones de carga
Apoyo de carril WBD 41/21-31
Apoyo de carril WBD 41/41-45
Apoyo de carril WBD 41/52
Apoyo de carril WBD 41/62
Apoyo de carril WBD 41-75/65
Apoyo de carril WBD 41-75/75