Together we build.
siklasicher.
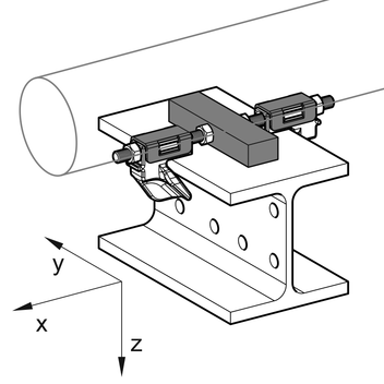
Pipe Shoes

Slide Bearing Set LR - H 20

Application

Serves as a slide bearing base for pipes of DN 15 up to DN 300, to be fixed on steel beams with flange widths of 80mm up to 300mm and max. flange thickness of 20mm.

Scope of delivery

Preassembled Slide Bearing Set containing:

2 clamping hooks with slide bearers
1 slide bar
1 connecting rod M10 + nuts

Installation

Position the preassembled clamping hooks onto the beam flange and tighten the nuts (to 10Nm). For beam widths < 100mm both nuts of the PA bearing blocks have to be removed. The pipe slides directly on the PA bearing blocks without lateral guidance. If larger lateral movement (> 40mm) along the Y axis is required or nominal pipe sizes > DN 100 are used, a broader PA bearing block of Type 100 is recommended.

Technical Data

PA block:

Type
H
[mm]
L
[mm]
B
[mm]
D
[mm]
30 20 30 40 10.2
100 20 30 120 10.2

Type
for flange width
[mm]
80/120 80 - 120
140/160 121 - 160
180/220 161 - 220
240/260 221 - 260
280/300 261 - 300

Material:
Clamping hooks:
Steel, HCP
Rod, nuts:
Steel, HCP
PA block:
Polyamide 6.0, 30 % glass fibre reinforced, black
Temperature range:
-20 to +130° C (at the PA block)

* in stock

TypeW
[kg]
Quantity
[pack]
Part
number
LR - H 20 30-80/120 *0.710 113647
LR - H 20 30-140/1600.71 113648
LR - H 20 30-180/2200.71 113649
LR - H 20 30-240/2600.71 113650
LR - H 20 30-280/3000.81 113651
     
LR - H 20 100-80/120 *0.810 113653
LR - H 20 100-140/1600.81 113654
LR - H 20 100-180/2200.91 113655
LR - H 20 100-240/2600.91 113656
LR - H 20 100-280/3000.91 113657